FireEscape2000 Installation Guide

Required Materials (Not Provided)

  • (6) 3/8" x 5" lag screws
  • (6) matching washers

Required Tools

  • Drill with 3/16" pilot bit (for pre-drilling holes)
  • Socket wrench or impact driver (for lag screws)
  • Allen wrench (for set screws)
  • Level
  • Measuring tape
  • Safety gear (gloves, protective eyewear)

Safety & Preparation

  • Ensure the window is fully operable and can open/close smoothly.
  • Confirm the wall or window frame surface is clean, level, and capable of supporting the installation.
  • Always wear safety gear during installation.

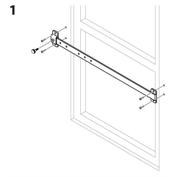
Step 1: Mount the Top Bracket (Bracket 1)

  • Open the window fully.
  • Position Bracket 1 on the left side of the window opening (viewed from inside).
  • The bottom opening of the bracket (where the top bracket support arm inserts) should align flush with the window sill/frame when open.
  • Insert the Top Bracket Support Arm into Bracket 1 and adjust its width for a snug fit.
  • Secure the support arm to Bracket 1 using (2) 3/8" x 5" lag screws with washers.

Step 2: Attach the Lower Support Arm

  • Bring the Lower Bracket Support Arm up to meet the mounted top support arm.
  • Attach the lower arm to the top arm using the set screw (included).
  • Do not fully tighten yet—leave room for adjustment.

Step 3: Secure the Lower Arm in Position

  • Use a level to confirm the lower arm is horizontally aligned.
  • Position Bracket 2 over the lower support arm at the designated mounting location.
  • Secure Bracket 2 using (2) 3/8" x 5" lag screws with washers.
  • Fully tighten the set screw to lock the lower support arm in place.

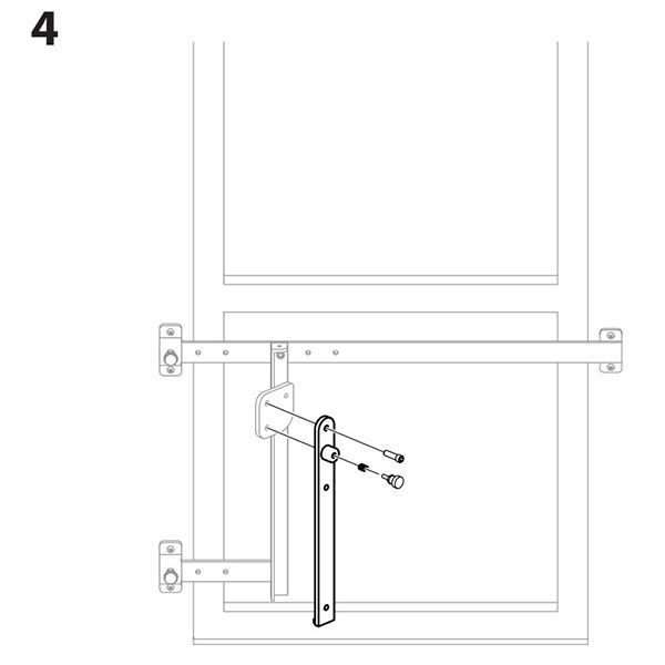
Step 4: Install the Swinging Arm

  • Align the Swinging Arm with the lower support arm.
  • Mount the swinging arm via the backing plate, securing it with the supplied set screws.
  • Tighten until secure, but allow the swinging arm to glide smoothly.
  • Important: Do not overtighten set screws, as this may restrict the arm’s motion.

Step 5: Attach the Extendable Arm

  • Locate the Quick-Release Latch on the swinging arm.
  • Insert the Extendable Arm into the swinging arm’s receptacle and lock it with the latch.
  • Verify the latch engages securely and the extendable arm retracts/extends properly.

Final Checks & Testing

  • Ensure all screws and fasteners are tight.
  • Operate the system through its full range (swing, extend, retract).
  • Verify smooth operation with no binding or interference.
  • Confirm the system is level, aligned, and structurally secure.